|
一、設備特點: YD型系列真空機組,采用防腐PP水箱,緩沖罐,RPP水沖泵,止回閥,蒸汽水噴射泵,羅茨真空泵組成各系列機組,結構緊湊,能耗低,真空高,可移動。 二、使用注意事項: 1、設備應安裝在平整堅實基礎上,保證設備的務重強度。 2、開機前水箱灌滿水,打開水泵進水閥門。水泵嚴禁脫水空轉及反轉,以防損壞水源。 3、汽水串聯機組應先啟動水源,水噴射真空開始工作,然后打開蒸汽開關,蒸汽泵開始工作。羅茨—水噴射機組應先啟動水源,水噴射真空開始工作,真空度到-0.092Mpa時,才能啟動羅茨真空泵,低于真空-0.092Mpa,應立即停止羅茨真空泵工作,建議安裝設備控制電器開關,便于操作。 4、使用時循環水箱應經常補充冷卻水更換循環水,降低工作水溫,嚴防循環水中有顆粒雜物。 5、設備停機時應先關閉蒸汽閥門,停止羅茨真空泵,打開真空罐上放空閥門,降低真空度。然后停止工作。否則產生倒吸及損壞設備。
YDP-1臥式水噴射真空機組系列


|
型號
|
極限真空度 Mpa
|
保證真空度 Mpa
|
最大抽氣量 m3/h
|
臥式機組外型尺寸
|
配套離心泵
|
|
長 |
寬 |
高 |
型號 |
功率KW |
|
YDP-1-20 |
0.0985 |
0.098 |
20 |
1100 |
800 |
800 |
SOFP-20 |
1.5 |
|
YDP-1-40 |
0.0985 |
0.098 |
40 |
1100 |
800 |
800 |
SOFP-22 |
2.2 |
|
YDP-1-60 |
0.0985 |
0.098 |
60 |
1600 |
1000 |
1200 |
SOFP-25 |
4 |
|
YDP-1-80 |
0.098 |
0.098 |
80 |
1600 |
1000 |
1200 |
SOFP-25 |
4 |
|
YDP-1-100 |
0.0985 |
0.098 |
100 |
1800 |
1000 |
1300 |
SOFP-30 |
4 |
|
YDP-1-120 |
0.098 |
0.097 |
120 |
2000 |
1000 |
1300 |
SOFP-30 |
4 |
|
YDP-1-160 |
0.0985 |
0.098 |
160 |
2000 |
1000 |
1300 |
SOFP-32 |
5.5 |
|
YDP-1-200 |
0.098 |
0.097 |
200 |
2000 |
1000 |
1300 |
SOFP-32 |
5.5 |
|
YDP-1-280 |
0.0975 |
0.0965 |
280 |
2500 |
1000 |
1300 |
SOFP-32 |
7.5 |
|
YDP-1-360 |
0.099 |
0.098 |
360 |
2500 |
1200 |
1300 |
SOFP-30 |
11 |
|
YDP-1-400 |
0.099 |
0.098 |
400 |
2500 |
1200 |
1400 |
SOFP-32 |
15 |
|
YDP-1-500 |
0.098 |
0.097 |
500 |
2500 |
1200 |
1400 |
SOFP-32 |
15 | 注:YD-1型成套機組底座采用鋼架結構 注:YD-Ⅱ型成套機組底座采用全塑結構
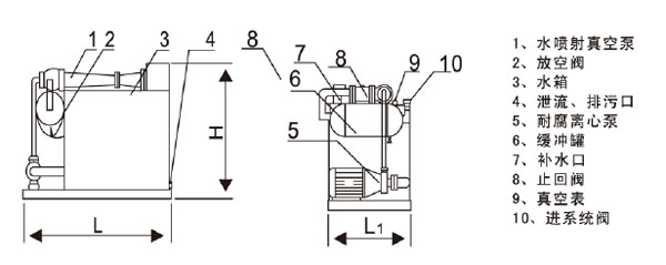
YDQ型汽——水串聯噴射真空機組系列


1、蒸汽真空泵 2、水噴射真空閥 3、放空閥 4、水箱 5、泄流、排污口 6、耐腐離心泵 7、緩沖罐 8、補水口 9、系統連接閥
|
型 號
|
極限真 空度 mmHg
|
最大抽 氣量 m3/h
|
蒸汽壓力 Mpa
|
蒸汽耗量 kg/h
|
機組外型尺寸
|
蒸汽泵 高度
|
配套離心泵
|
|
長 |
寬 |
高 |
型號 |
功率KW |
|
YDQ-100 |
5 |
100 |
3 |
35 |
1800 |
1000 |
1300 |
1100 |
80FP-30 |
4 |
|
YDQ-120 |
5 |
120 |
3 |
35 |
2000 |
1000 |
1300 |
1100 |
80FP-30 |
4 |
|
YDQ-180 |
5 |
160 |
3 |
40 |
2000 |
1000 |
1300 |
1100 |
80FP-30 |
5.5 |
|
YDQ-200 |
5 |
200 |
3 |
40 |
2000 |
1000 |
1300 |
1100 |
80FP-30 |
5.5 |
|
YDQ-280 |
5 |
280 |
3 |
40 |
2500 |
1000 |
1300 |
1100 |
80FP-30 |
7.5 |
|
YDQ-360 |
5 |
360 |
3 |
45 |
2500 |
1200 |
1300 |
1100 |
100FP-30 |
11 |
|
YDQ-400 |
5 |
400 |
3 |
45 |
2500 |
1200 |
1400 |
1100 |
100FP-30 |
15 |
|
YDQ-500 |
5 |
500 |
3 |
50 |
2500 |
1200 |
1400 |
1100 |
100FP-30 |
15 | 注:(1)汽水串聯規格分為:一級汽——水,二級汽——水,三級汽——水。 (2)蒸汽泵噴咀材質為黃銅。
|